+420 281 981 055
Wolkerova 433
CZ-250 82 Úvaly

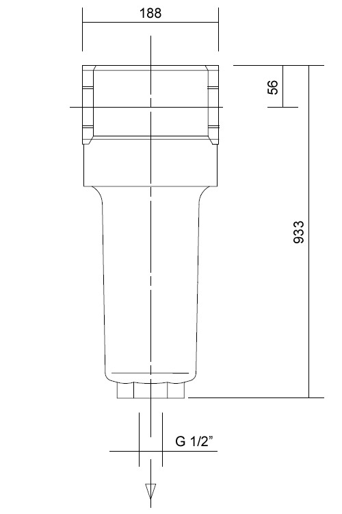
HFN 370 QWD

Filtr stlačeného vzduchu třídy Q - hrubý filtr pro odstranění nečistot do velikosti 3 µm.

Slouží k odloučení mechanických nečistot a olejových zbytků v potrubních rozvodech, před spotřebiči, příp. jako předfiltr před kondenzační sušičku - třída 3 dle ISO 8573.1.

Tělo filtru se závitovým připojením je vyrobeno z hliníkové slitiny. Filtrační médium z borosilikátu má zvláštní úpravu, která zajišťuje, že vložka aktivně odpuzuje jak olej, tak i vodu. Vložka se vyznačuje nízkou tlakovou ztrátou.

Součástí filtru je plovákový odvaděč kondenzátu. Filtr je možno dovybavit manometrem tlakové ztráty typu ESG2.

dotaz na produkt
  • provozní tlak: max. 16 bar (g)
  • provozní teplota: +1,5 až +65°C
  • výměna vložky: 0,35 bar (g) nad počáteční ∆p

Průtok1) Připojení Označení vložky Hmotnost
m3/h m3/min vnitřní závit G kg
2 220 37 3" Q370-ELZ 16

1) průtok je uveden pro vzduch o teplotě 20oC a pracovním tlaku 7 bar (g) 


 

Monitorovací ekonometr pro filtry stlačeného vzduchu řady Hyperfilter. Přehledně ukazuje míru zanesení filtrační vložky a kolik zbývá vložce z životnosti.

Jedná se o pohodlné a nenákladné řešení zajišťující optimální využití každé vložky.

Odolná plastová konstrukce s barevnou stupnicí.

U závitových filtrů se montuje přímo na hlavu filtru, u přírubových provedení na upevňovací desku s pomocí adaptéru.
detail
Hrubá vložka filtrů stlačeného vzduchu Hyperfilter třídy Q pro odstranění nečistot do velikosti 3 µm.

Slouží k odloučení mechanických nečistot a olejových zbytků v potrubních rozvodech, před spotřebiči, příp. jako předfiltr před kondenzační sušičku - třída 3 dle ISO 8573.1.

Filtrační médium z borosilikátu má zvláštní úpravu, která zajišťuje, že vložka aktivně odpuzuje jak olej, tak i vodu. Koncovky odolné proti korozi, vnitřní a vnější opěrná mřížka z nerezového tahokovu.

Vložka se vyznačuje nízkou tlakovou ztrátou a dlouhou provozní životností.
detail
Filtry
Zanechte nám svoje číslo,
my Vám rádi zavoláme