+420 281 981 055
Wolkerova 433
CZ-250 82 Úvaly

MM 1324 AV

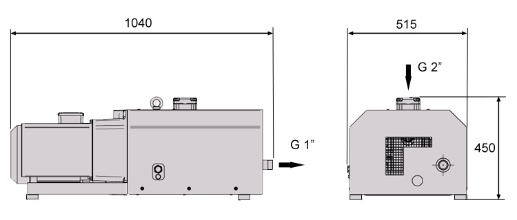
Jednostupňová rotační zubová vývěva řady Mink pro průmyslové aplikace, kde je vyžadována konstantní dodávka vakua, vysoká čerpací rychlost a absolutně bezolejový pracovní vzduch.

Vývěvy řady Mink nabízejí v oblasti výroby průmyslového vakua nejvyšší úroveň energetické účinnosti v kombinaci s minimální údržbou. Oproti konvenčním vývěvám mají až o 50% nižší spotřebu elektrické energie při srovnatelné čerpací rychlosti.

Vývěva pracuje zcela bezkontaktně, neboli pro kompresní proces nepotřebuje olej nebo vodu. Díky bezkontaktnímu principu nedochází ke tření a tudíž k opotřebování namáhaných částí. Vývěva je poháněna napřímo přírubovým elektromotorem, oba zubové rotory jsou pak synchronizovány pomocí převodovky. Kompaktní design, samomazná ložiska a vzduchem chlazený elektromotor jsou zárukou dlouhé životnosti.

Ve standardu je vybavena zpětným ventilem. Široká škála příslušenství (např. sací filtr, vakuová regulační jednotka, protihlukový kryt,...) umožňuje optimální přizpůsobení pro jakoukoliv aplikaci.

Vývěvy je možno dodat také v plynotěsném provedení, AQUA verzi při zvýšeném podílu vodní páry, OXYGEN variantě pro čerpání kyslíku nebo v ATEX provedení pro prostředí s nebezpečí výbuchu pro plyny i prachy.

dotaz na produkt
Charakteristické křivky

Výkonové údaje

Frekvence Max. čerpací
rychlost
Koncový
tlak
Výkon
motoru
Napětí Otáčky Hlučnost Hmotnost
Hz m3/h mbar (abs.) kW V min-1 dB (A) kg
50 160 60 3,0 230/400 1 500 70 240
Vývěvy
Zanechte nám svoje číslo,
my Vám rádi zavoláme